转速测量的概念
转速测量通常有以下几种传感器可选:电涡流转速传感器、无源磁电转速传感器、有源磁电转速传感器等。具体需要选择哪类传感器,则要根据转速测量的要求而定。如:低速测量是否需要检测零转速,高速测量的最高转速,转速发生的装置情况。转速发生装置有以下几种:用标准的渐开线齿轮(M1~M5)作转速发生信号、在转轴上开一键槽、在转轴上开孔眼、在转轴上开凸键等转速发生信号装置。
一、OD9000系列电涡流转速传感器:
适合于测量从零转速以上的任何一转速,对于被测体转轴的转速发生装置要求也很低,被测体齿轮模数可以很小,被测体也可以是一个很小的孔眼,一个小凸键、一个小的凹槽。
一、OD9000系列电涡流转速传感器:
适合于测量从零转速以上的任何一转速,对于被测体转轴的转速发生装置要求也很低,被测体齿轮模数可以很小,被测体也可以是一个很小的孔眼,一个小凸键、一个小的凹槽。
● 作转速测量的电涡流传感器有一体化和分体两种。一体化电涡流转速传感器取消前置器放大器、安装方便、适用于工作温度在?C20℃~100℃的环境下,带前置器放大器的电涡流传感器适合在?C50℃~250℃的工作环境中。

如果选用凸块型(齿型),那么尺顶的表面A(部分)应做成同心圆的柱面,而不要做成平面
|
探头直径 |
|
φ3(φ4) |
φ5 |
φ8 |
φ10 |
φ11 |
|
靶块尺寸
推荐
(mm) |
A |
≥3 |
≥5 |
≥7 |
≥8.5 |
≥10 |
|
B |
≥3 |
≥5 |
≥7 |
≥8.5 |
≥10 | |
|
C |
≥1.5 |
≥2.5 |
≥2.5 |
≥3 |
≥4 | |
|
D |
≥6 |
≥10 |
≥15 |
≥17 |
≥20 | |
|
安装间隙
推荐 (mm) |
|
0.70 |
1.50 |
1.50 |
1.50 |
4.0 |

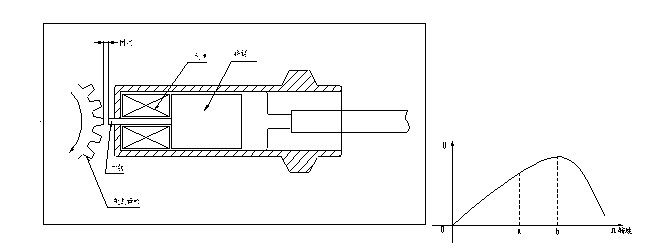
测量结构示意图 频响特性
传感器要正常工作,须在要检测的旋转体上,安装导磁体发讯齿轮或孔板齿轮,模数大于或等于1,程序安装时,传感器端面距齿顶1mm左右。传感器输出为双芯高温屏蔽线,其中屏蔽层与双芯线中任一根相并连后,再连接至转速表磁电式输入的“?C 端”(信号线标准长5m,特殊规格小于50m)。发布人:台湾路昌 发布时间:2011年11月4日 已被浏览 2059 次 〖 打印本文〗
